专利数据库
统计分析
产业报告
专利数据监控
产业人才
行业动态
产业政策法规
维权援助
个人中心
详情
文本
图像
标题
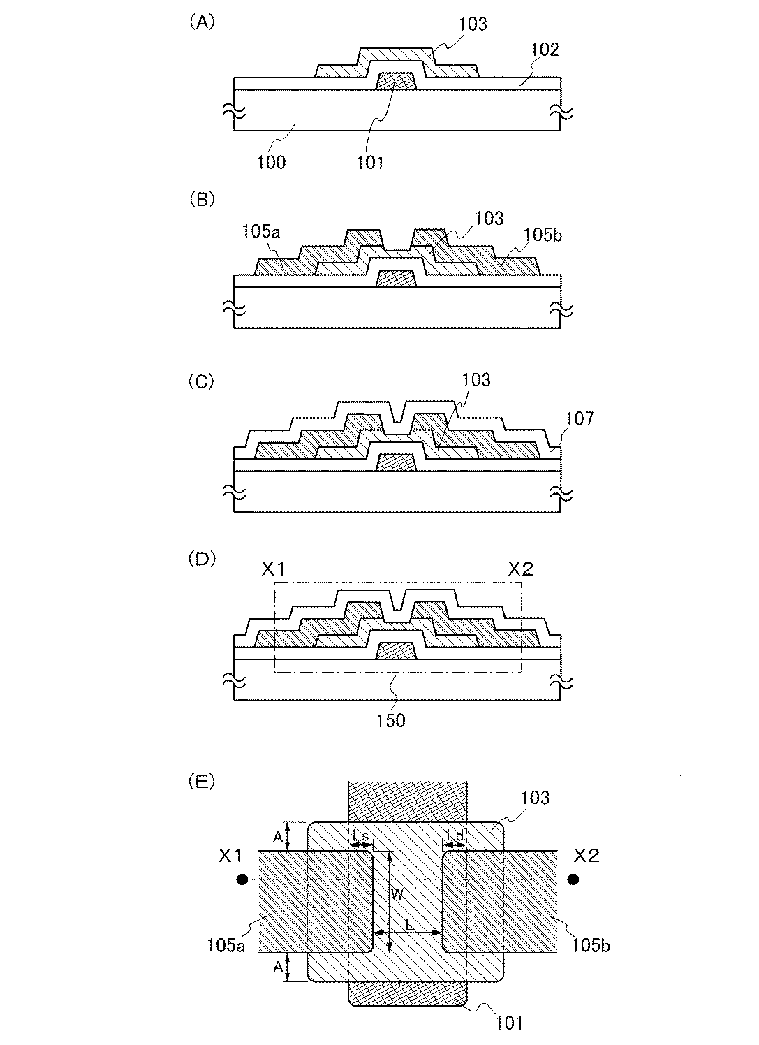
液晶表示装置
授权日
1900-01-01
公开(公告)号
JP2020034922A
申请日
2019-10-09
公开(公告)日
2020-03-05
当前申请(专利权)人
株式会社半導体エネルギー研究所
发明人
山崎 舜平 | 津吹 将志 | 郷戸 宏充
简单同族
CN102511082A | CN102511082B | CN105609565A | CN105609565B | CN105609566A | CN105609566B | CN105789322A | CN105789322B | EP2478563A1 | EP2478563A4 | JP2011192958A | JP2011192958A5 | JP2014131056A | JP2015053486A | JP2017120918A | JP2017120919A | JP2019057720A | JP2020034922A | JP5618724B2 | JP5886505B2 | JP6138391B1 | JP6437023B2 | JP6700367B2 | KR101785745B1 | KR1020120091082A | KR1020170116246A | KR1020180122753A | KR1020190141023A | KR102057221B1 | US20110062435A1 | WO2011033993A1
简单同族成员数量
31
简单同族被引用专利总数
55
诉讼案件数
0
法律状态/事件
公开
抱歉,您的浏览器不支持PDF预览,请点击链接下载PDF文件