专利数据库
统计分析
产业报告
专利数据监控
产业人才
行业动态
产业政策法规
维权援助
个人中心
详情
文本
图像
标题
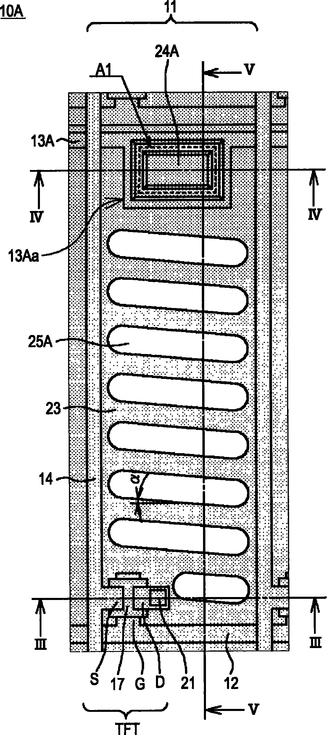
液晶显示面板
授权日
2013-02-13
公开(公告)号
CN102004360B
申请日
2010-08-26
公开(公告)日
2013-02-13
当前申请(专利权)人
株式会社日本显示器西
发明人
滝山昭雄 | 渡边佐智子
简单同族
CN102004360A | CN102004360B | JP2011053443A | JP5500712B2 | US20110050551A1 | US9052554
简单同族成员数量
6
简单同族被引用专利总数
123
诉讼案件数
0
法律状态/事件
授权 | 权利转移
抱歉,您的浏览器不支持PDF预览,请点击链接下载PDF文件