专利数据库
统计分析
产业报告
专利数据监控
产业人才
行业动态
产业政策法规
维权援助
个人中心
详情
文本
图像
标题
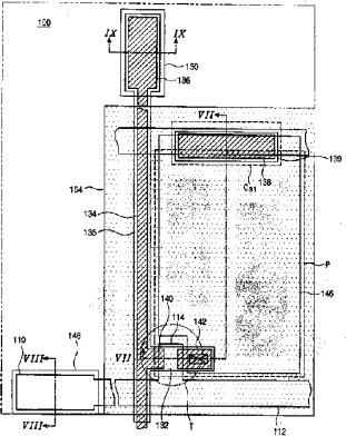
液晶显示装置阵列基板的制造方法
授权日
1900-01-01
公开(公告)号
CN1452002A
申请日
2003-04-11
公开(公告)日
2003-10-29
当前申请(专利权)人
乐金显示有限公司
发明人
林柄昊
简单同族
CN100383646C | CN1452002A | DE10317627A1 | DE10317627B4 | FR2838562A1 | FR2838562B1 | GB0307997D0 | GB2387707A | GB2387707B | JP2003347314A | JP4710026B2 | KR100436181B1 | KR1020030082144A | TW200305763A | TWI226502B | US20030193626A1 | US20070132903A1 | US7199846 | US7609331
简单同族成员数量
19
简单同族被引用专利总数
160
诉讼案件数
0
法律状态/事件
授权
抱歉,您的浏览器不支持PDF预览,请点击链接下载PDF文件