专利数据库
统计分析
产业报告
专利数据监控
产业人才
行业动态
产业政策法规
维权援助
个人中心
详情
文本
图像
标题
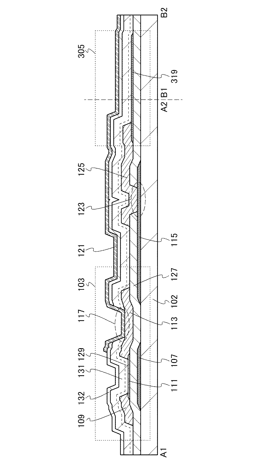
液晶表示装置
授权日
1900-01-01
公开(公告)号
JP2018049276A
申请日
2017-10-06
公开(公告)日
2018-03-29
当前申请(专利权)人
株式会社半導体エネルギー研究所
发明人
山崎 舜平 | 三宅 博之 | 宍戸 英明 | 小山 潤
简单同族
CN104620390A | JP2014199406A | JP2014199406A5 | JP2017143252A | JP2017143280A | JP2018049276A | JP2019095798A | JP6077971B2 | JP6110584B1 | JP6225284B2 | KR1020150053917A | TW201417292A | TW201727917A | TW201810680A | TWI589000B | TWI612676B | US10236305 | US10446584 | US10700099 | US20140070209A1 | US20170012062A1 | US20180026053A1 | US20190165003A1 | US20190386036A1 | US9455280 | US9806099 | WO2014042102A1
简单同族成员数量
27
简单同族被引用专利总数
52
诉讼案件数
0
法律状态/事件
撤回
抱歉,您的浏览器不支持PDF预览,请点击链接下载PDF文件