专利数据库
统计分析
产业报告
专利数据监控
产业人才
行业动态
产业政策法规
维权援助
个人中心
详情
文本
图像
标题
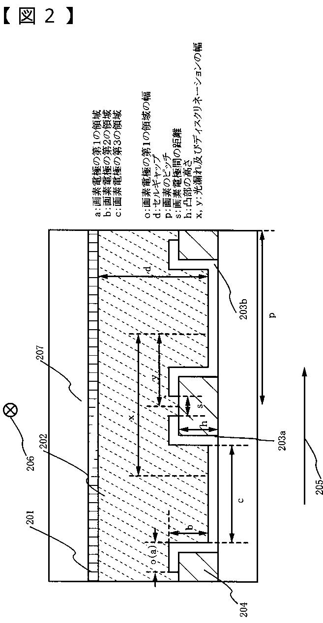
表示装置
授权日
2013-06-14
公开(公告)号
JP5292521B2
申请日
2013-04-29
公开(公告)日
2013-09-18
当前申请(专利权)人
株式会社半導体エネルギー研究所
发明人
平形 吉晴 | 辻 百合子 | 佐竹 瑠茂
简单同族
JP2011186504A | JP2013011903A | JP2013178561A | JP2013190802A | JP2013190802A5 | JP2014098914A | JP2015146021A | JP2016186666A | JP2018092196A | JP2020073973A | JP5153922B2 | JP5288663B2 | JP5292521B2 | JP5719918B2 | US20020063841A1 | US20040160540A1 | US20070268439A1 | US20100039574A1 | US20120188476A1 | US20140132871A1 | US6734924 | US7248320 | US7609332 | US8102480 | US8587741 | US9798204
简单同族成员数量
26
简单同族被引用专利总数
81
诉讼案件数
0
法律状态/事件
授权
抱歉,您的浏览器不支持PDF预览,请点击链接下载PDF文件