专利数据库
统计分析
产业报告
专利数据监控
产业人才
行业动态
产业政策法规
维权援助
个人中心
详情
文本
图像
标题
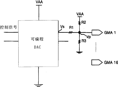
具有伽马电压控制器的液晶显示装置
授权日
2006-02-15
公开(公告)号
CN1242375C
申请日
2001-12-14
公开(公告)日
2006-02-15
当前申请(专利权)人
乐金显示有限公司
发明人
禹裕泽 | 金详虯 | 姜娟守
简单同族
CN1242375C | CN1359098A | JP2002304162A | JP4166976B2 | KR100365496B1 | KR1020020046598A | US20020101416A1 | US6680733
简单同族成员数量
8
简单同族被引用专利总数
52
诉讼案件数
0
法律状态/事件
未缴年费
抱歉,您的浏览器不支持PDF预览,请点击链接下载PDF文件