专利数据库
统计分析
产业报告
专利数据监控
产业人才
行业动态
产业政策法规
维权援助
个人中心
详情
文本
图像
标题
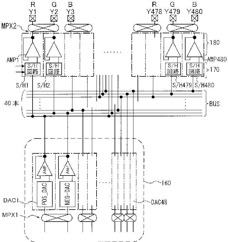
液晶表示駆動装置、液晶表示システムおよび液晶駆動用半導体集積回路装置
授权日
1900-01-01
公开(公告)号
JP2011170376A
申请日
2011-04-15
公开(公告)日
2011-09-01
当前申请(专利权)人
ルネサスエレクトロニクス株式会社 | 株式会社ルネサス北日本セミコンダクタ
发明人
山口 聡 | 遠藤 祐弘 | 久保 健彦
简单同族
JP2011170376A
简单同族成员数量
1
简单同族被引用专利总数
0
诉讼案件数
0
法律状态/事件
驳回
抱歉,您的浏览器不支持PDF预览,请点击链接下载PDF文件