专利数据库
统计分析
产业报告
专利数据监控
产业人才
行业动态
产业政策法规
维权援助
个人中心
详情
文本
图像
标题
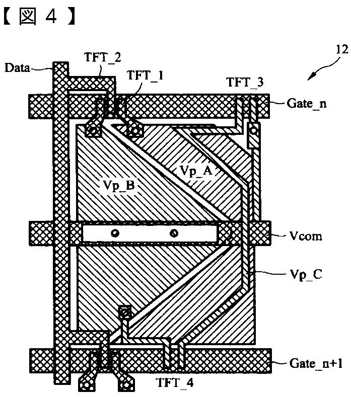
液晶ディスプレイ装置
授权日
2012-04-06
公开(公告)号
JP4966341B2
申请日
2009-06-30
公开(公告)日
2012-07-04
当前申请(专利权)人
友達光電股▲ふん▼有限公司
发明人
頼 明昇 | 黄 雪瑛 | 楊 振國 | 江 明峰
简单同族
CN101510414A | JP2010020302A | JP4966341B2 | TW201003622A | TWI407422B | US20100007594A1 | US8373633
简单同族成员数量
7
简单同族被引用专利总数
54
诉讼案件数
0
法律状态/事件
授权
抱歉,您的浏览器不支持PDF预览,请点击链接下载PDF文件