专利数据库
统计分析
产业报告
专利数据监控
产业人才
行业动态
产业政策法规
维权援助
个人中心
详情
文本
图像
标题
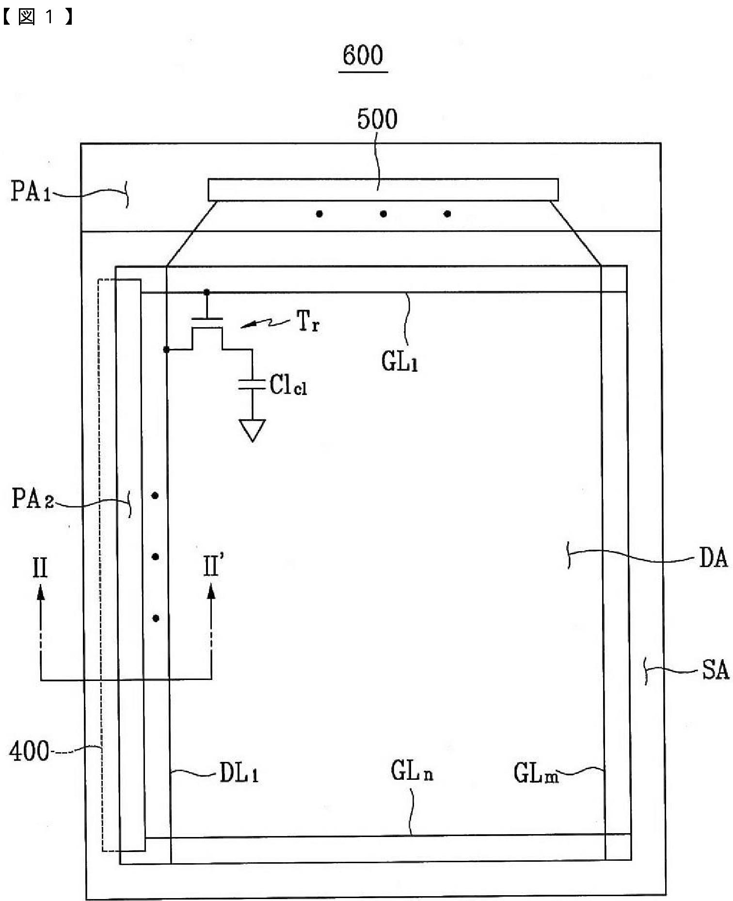
薄膜トランジスタ表示板、これを含む表示装置及び液晶表示装置の製造方法
授权日
2014-12-19
公开(公告)号
JP5667104B2
申请日
2012-03-01
公开(公告)日
2015-02-12
当前申请(专利权)人
三星ディスプレイ株式會社
发明人
金 東 奎 | 文 勝 煥 | 李 龍 淳 | 姜 南 洙 | 朴 倖 源
简单同族
JP2006039524A | JP2012113321A | JP5190580B2 | JP5667104B2 | TW200604694A | TWI382264B | US10025149 | US20060022201A1 | US20100141622A1 | US20160223850A1 | US20180143478A1 | US7692617 | US9310657 | US9874794
简单同族成员数量
14
简单同族被引用专利总数
141
诉讼案件数
0
法律状态/事件
授权 | 权利转移
抱歉,您的浏览器不支持PDF预览,请点击链接下载PDF文件