专利数据库
统计分析
产业报告
专利数据监控
产业人才
行业动态
产业政策法规
维权援助
个人中心
详情
文本
图像
标题
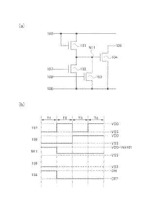
液晶表示装置及び電子機器
授权日
1900-01-01
公开(公告)号
JP2008009393A
申请日
2007-05-23
公开(公告)日
2008-01-17
当前申请(专利权)人
株式会社半導体エネルギー研究所
发明人
梅崎 敦司
简单同族
JP2008009393A | JP2008009393A5 | JP5386069B2
简单同族成员数量
3
简单同族被引用专利总数
137
诉讼案件数
0
法律状态/事件
授权
抱歉,您的浏览器不支持PDF预览,请点击链接下载PDF文件