专利数据库
统计分析
产业报告
专利数据监控
产业人才
行业动态
产业政策法规
维权援助
个人中心
详情
文本
图像
标题
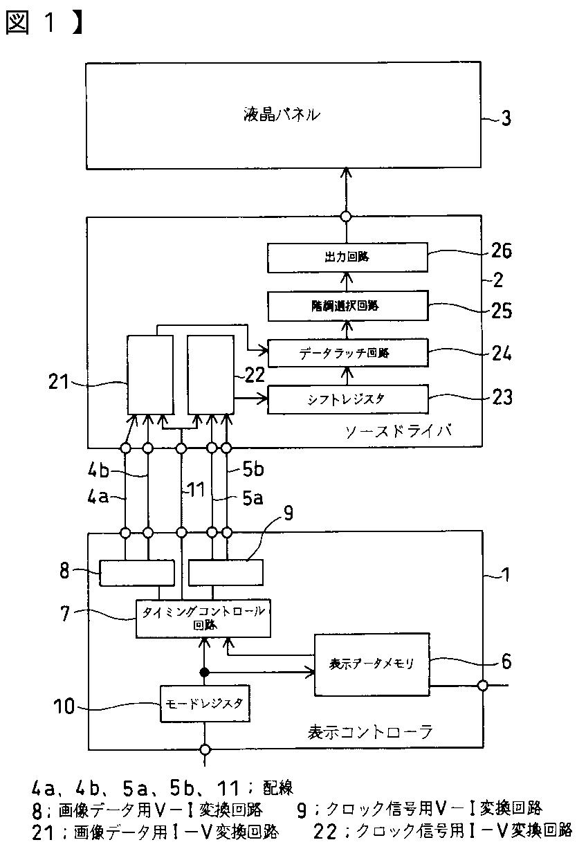
表示装置
授权日
2008-03-07
公开(公告)号
JP4092132B2
申请日
2002-04-26
公开(公告)日
2008-05-28
当前申请(专利权)人
NECエレクトロニクス株式会社
发明人
春原 誠 | 田島 章光 | 山口 雅之 | 久米田 誠之
简单同族
CN1255775C | CN1453760A | JP2003323147A | JP4092132B2 | KR100538416B1 | KR1020030084752A | TW200307229A | TW586097B | US20030201965A1 | US20060208997A1 | US7119782
简单同族成员数量
11
简单同族被引用专利总数
55
诉讼案件数
0
法律状态/事件
授权 | 权利转移
抱歉,您的浏览器不支持PDF预览,请点击链接下载PDF文件