专利数据库
统计分析
产业报告
专利数据监控
产业人才
行业动态
产业政策法规
维权援助
个人中心
详情
文本
图像
标题
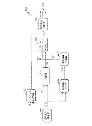
液晶表示装置の駆動電圧発生回路及びその方法
授权日
1900-01-01
公开(公告)号
JP2004004609A
申请日
2003-03-14
公开(公告)日
2004-01-08
当前申请(专利权)人
三星電子株式会社
发明人
朴在浩 | 金亨來
简单同族
CN100390853C | CN1453762A | JP2004004609A | JP4632113B2 | KR100438786B1 | KR1020030083922A | TW200305841A | TW589610B | US20050156854A1 | US20070024555A1 | US7133038 | US7683898
简单同族成员数量
12
简单同族被引用专利总数
83
诉讼案件数
0
法律状态/事件
未缴年费
抱歉,您的浏览器不支持PDF预览,请点击链接下载PDF文件