专利数据库
统计分析
产业报告
专利数据监控
产业人才
行业动态
产业政策法规
维权援助
个人中心
详情
文本
图像
标题
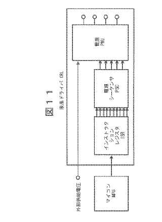
表示駆動制御装置とその駆動方法及び電子機器並びに半導体集積回路
授权日
1900-01-01
公开(公告)号
JP2005043435A
申请日
2003-07-23
公开(公告)日
2005-02-17
当前申请(专利权)人
株式会社ルネサステクノロジ | 株式会社日立ディスプレイデバイシズ
发明人
森田 新 | 坂巻 五郎 | 立花 利一
简单同族
CN100460935C | CN101458913A | CN1576977A | JP2005043435A | KR1020050011726A | TW200525483A | US20050017965A1 | US20080010475A1 | US7280104
简单同族成员数量
9
简单同族被引用专利总数
61
诉讼案件数
0
法律状态/事件
驳回
抱歉,您的浏览器不支持PDF预览,请点击链接下载PDF文件