专利数据库
统计分析
产业报告
专利数据监控
产业人才
行业动态
产业政策法规
维权援助
个人中心
详情
文本
图像
标题
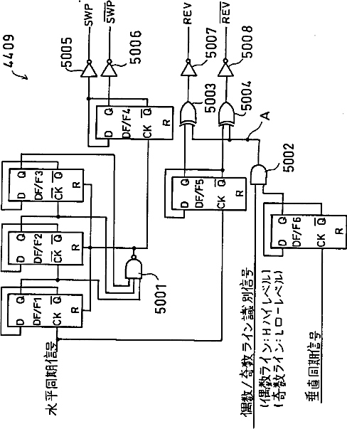
液晶表示装置の駆動装置および駆動方法
授权日
1900-01-01
公开(公告)号
JP2002108303A
申请日
2000-09-29
公开(公告)日
2002-04-10
当前申请(专利权)人
シャープ株式会社
发明人
勝谷 昌史
简单同族
JP2002108303A | JP3519355B2 | KR100475975B1 | KR1020020025791A | TW521252B | US20020039096A1 | US6870524
简单同族成员数量
7
简单同族被引用专利总数
82
诉讼案件数
0
法律状态/事件
未缴年费
抱歉,您的浏览器不支持PDF预览,请点击链接下载PDF文件