专利数据库
统计分析
产业报告
专利数据监控
产业人才
行业动态
产业政策法规
维权援助
个人中心
详情
文本
图像
标题
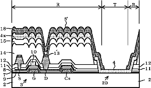
液晶表示装置
授权日
1900-01-01
公开(公告)号
JP2001350158A
申请日
2000-06-09
公开(公告)日
2001-12-21
当前申请(专利权)人
ソニー株式会社
发明人
重野 信行 | 鶴田 真貴 | 木田 芳利
简单同族
JP2001350158A | JP4815659B2 | KR1020020014993A | US20020033918A1
简单同族成员数量
4
简单同族被引用专利总数
134
诉讼案件数
0
法律状态/事件
未缴年费 | 权利转移
抱歉,您的浏览器不支持PDF预览,请点击链接下载PDF文件