专利数据库
统计分析
产业报告
专利数据监控
产业人才
行业动态
产业政策法规
维权援助
个人中心
详情
文本
图像
标题
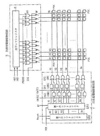
アクティブマトリクス型液晶表示装置
授权日
1900-01-01
公开(公告)号
JP2004061552A
申请日
2002-07-24
公开(公告)日
2004-02-26
当前申请(专利权)人
日本ビクター株式会社
发明人
古屋 正人
简单同族
JP2004061552A | JP3901048B2 | US20040104881A1 | US7193601
简单同族成员数量
4
简单同族被引用专利总数
85
诉讼案件数
0
法律状态/事件
授权 | 权利转移
抱歉,您的浏览器不支持PDF预览,请点击链接下载PDF文件