专利数据库
统计分析
产业报告
专利数据监控
产业人才
行业动态
产业政策法规
维权援助
个人中心
详情
文本
图像
标题
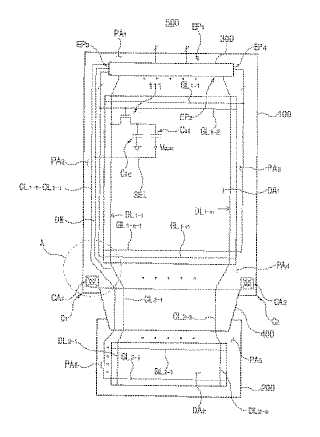
表示装置
授权日
1900-01-01
公开(公告)号
JP2005092218A
申请日
2004-09-17
公开(公告)日
2005-04-07
当前申请(专利权)人
三星電子株式会社
发明人
羅 衡 敦 | 尹 榮 男
简单同族
CN100418135C | CN1598920A | JP2005092218A | KR100957574B1 | KR1020050028386A | TW200512699A | US20050057477A1 | US20080036692A1 | US7301509 | US7439939
简单同族成员数量
10
简单同族被引用专利总数
52
诉讼案件数
0
法律状态/事件
驳回
抱歉,您的浏览器不支持PDF预览,请点击链接下载PDF文件