专利数据库
统计分析
产业报告
专利数据监控
产业人才
行业动态
产业政策法规
维权援助
个人中心
详情
文本
图像
标题
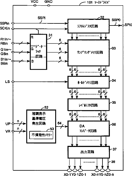
階調表示基準電圧発生回路およびそれを用いた液晶表示装置
授权日
1900-01-01
公开(公告)号
JP2003280615A
申请日
2002-08-09
公开(公告)日
2003-10-02
当前申请(专利权)人
シャープ株式会社
发明人
小川 嘉規 | 田中 茂樹
简单同族
CN1253846C | CN1432993A | JP2003280615A | KR100520861B1 | KR1020030062279A | TW200302449A | TWI227456B | US20030132906A1
简单同族成员数量
8
简单同族被引用专利总数
104
诉讼案件数
0
法律状态/事件
驳回
抱歉,您的浏览器不支持PDF预览,请点击链接下载PDF文件