专利数据库
统计分析
产业报告
专利数据监控
产业人才
行业动态
产业政策法规
维权援助
个人中心
详情
文本
图像
标题
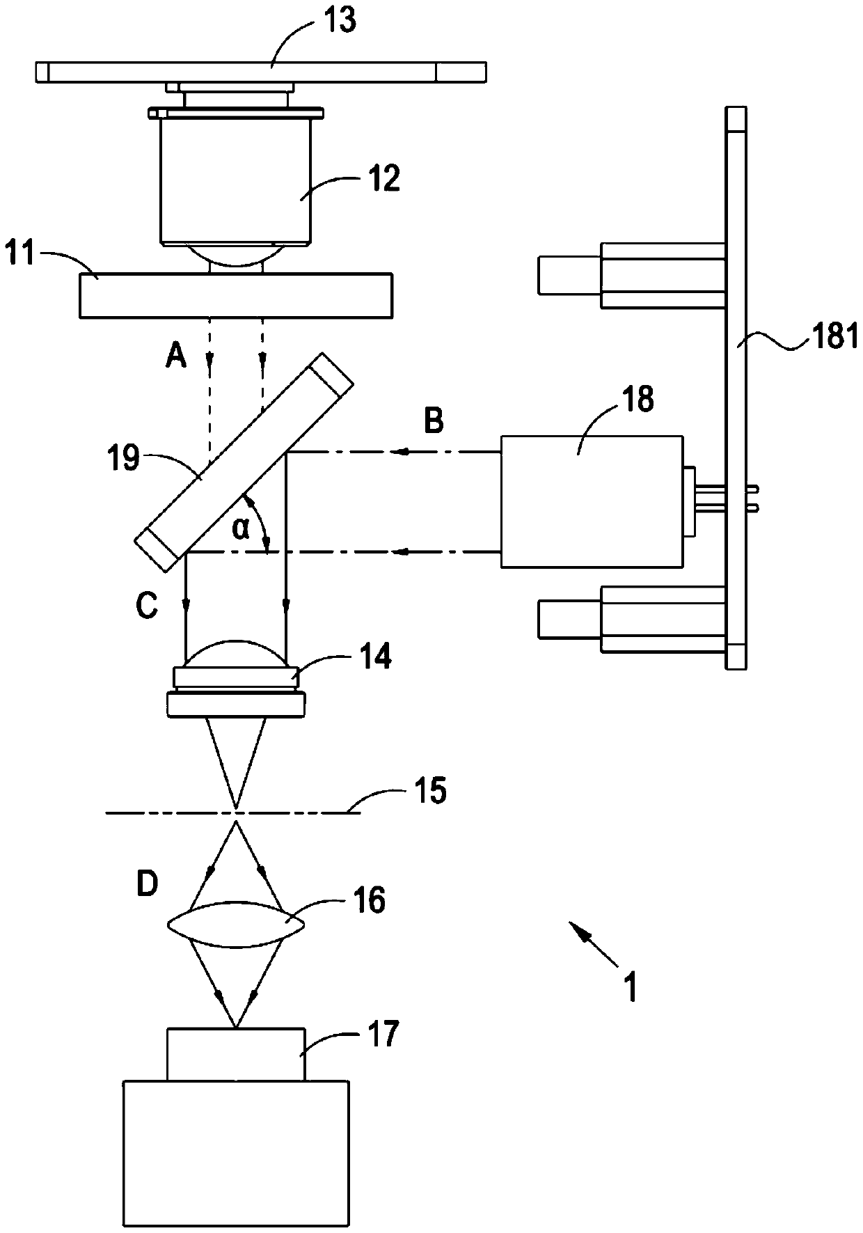
一种用于免疫荧光分析仪的偏心距检测装置
授权日
2019-11-12
公开(公告)号
CN209624000U
申请日
2019-02-20
公开(公告)日
2019-11-12
当前申请(专利权)人
苏州鼎实医疗科技有限公司
发明人
籍涛 | 邱华星 | 任雨铄 | 张运平 | 顾永勇 | 许凌杰
简单同族
CN209624000U
简单同族成员数量
1
简单同族被引用专利总数
0
诉讼案件数
0
法律状态/事件
授权
抱歉,您的浏览器不支持PDF预览,请点击链接下载PDF文件