专利数据库
统计分析
产业报告
专利数据监控
产业人才
行业动态
产业政策法规
维权援助
个人中心
详情
文本
图像
标题
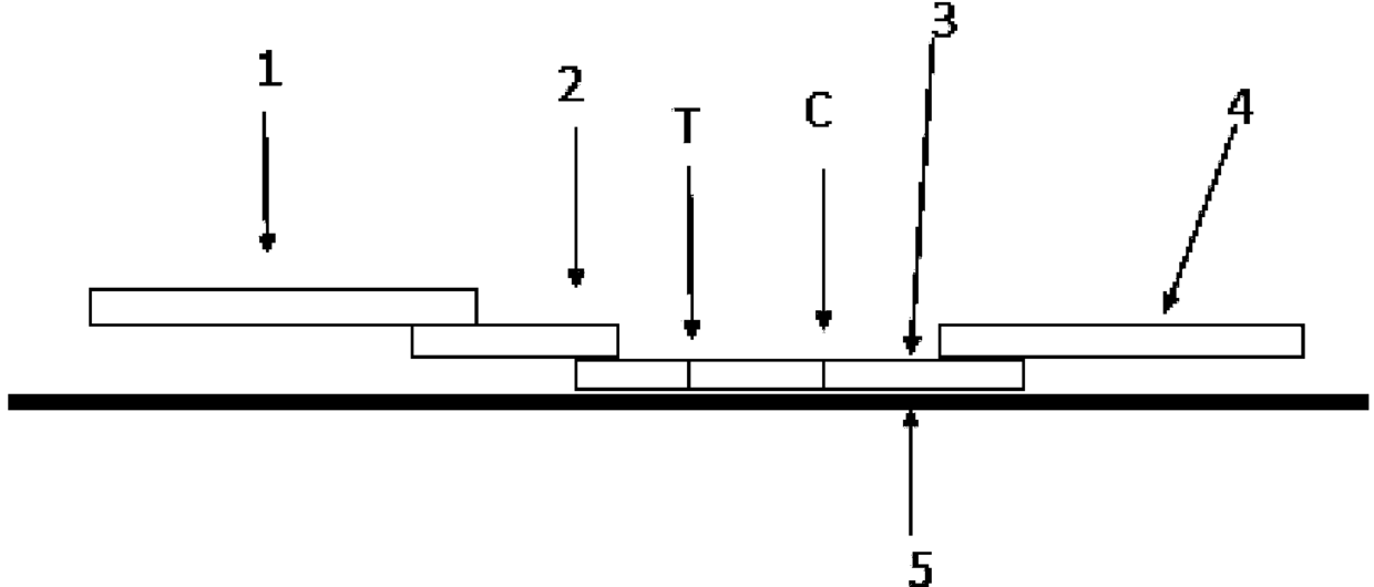
一种快速检测虾蟹螺原体胶体金免疫层析试纸条及其制备方法
授权日
1900-01-01
公开(公告)号
CN103823055A
申请日
2013-12-02
公开(公告)日
2014-05-28
当前申请(专利权)人
南京师范大学
发明人
王文 | 安亮 | 任梦 | 肖政云 | 顾伟 | 孟庆国 | 任乾
简单同族
CN103823055A | CN103823055B
简单同族成员数量
2
简单同族被引用专利总数
0
诉讼案件数
0
法律状态/事件
授权
抱歉,您的浏览器不支持PDF预览,请点击链接下载PDF文件