专利数据库
统计分析
产业报告
专利数据监控
产业人才
行业动态
产业政策法规
维权援助
个人中心
详情
文本
图像
标题
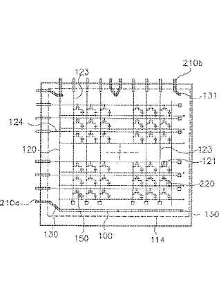
液晶表示装置
授权日
1900-01-01
公开(公告)号
JP2006171793A
申请日
2006-03-09
公开(公告)日
2006-06-29
当前申请(专利权)人
エルジー フィリップス エルシーディー カンパニー リミテッド
发明人
宋 寅徳
简单同族
DE19841760A1 | DE19841760B4 | FR2768542A1 | FR2768542B1 | GB2329275A | GB2329275B | GB9820006D0 | JP1999153811A | JP2006171793A | JP4117747B2 | KR100280874B1 | KR1019990025571A | US5831709 | US6049368 | US6052167 | US6252643
简单同族成员数量
16
简单同族被引用专利总数
89
诉讼案件数
0
法律状态/事件
放弃
抱歉,您的浏览器不支持PDF预览,请点击链接下载PDF文件