专利数据库
统计分析
产业报告
专利数据监控
产业人才
行业动态
产业政策法规
维权援助
个人中心
详情
文本
图像
标题
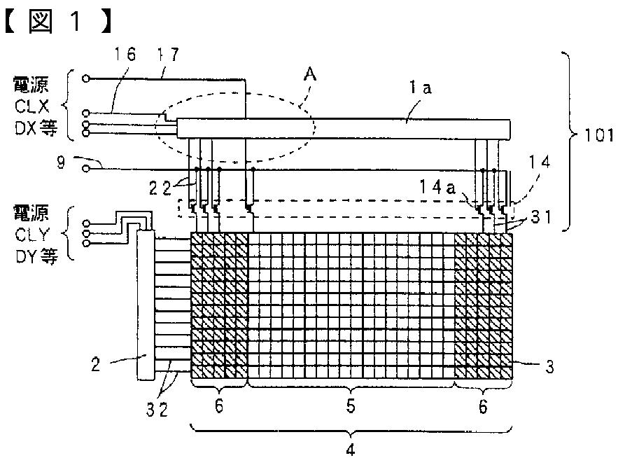
液晶パネルの駆動装置、液晶装置及び電子機器
授权日
2007-07-20
公开(公告)号
JP3987280B2
申请日
2000-12-28
公开(公告)日
2007-10-03
当前申请(专利权)人
セイコーエプソン株式会社
发明人
石井 賢哉
简单同族
CN1149525C | CN1207194A | CN1225674C | CN1487347A | JP2001242841A | JP3987119B2 | JP3987280B2 | JPWO1998021707A1 | KR100499432B1 | KR1019990077075A | TW455725B | US20010005196A1 | US20030025666A1 | US6225969 | US6480181 | US6803898 | WO1998021707A1
简单同族成员数量
17
简单同族被引用专利总数
128
诉讼案件数
0
法律状态/事件
未缴年费
抱歉,您的浏览器不支持PDF预览,请点击链接下载PDF文件