专利数据库
统计分析
产业报告
专利数据监控
产业人才
行业动态
产业政策法规
维权援助
个人中心
详情
文本
图像
标题
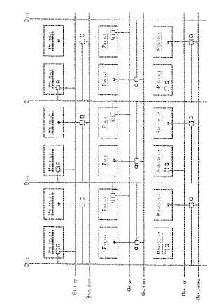
液晶表示装置
授权日
1900-01-01
公开(公告)号
JP2006048051A
申请日
2005-08-03
公开(公告)日
2006-02-16
当前申请(专利权)人
三星電子株式会社
发明人
金 聖 萬 | 李 鍾 煥 | 李 成 榮 | 許 命 九 | 文 勝 煥 | 孔 香 植 | 宋 長 根
简单同族
CN1734547A | CN1734547B | JP2006048051A | JP4758704B2 | KR101006450B1 | KR1020060012387A | TW200609869A | TWI397035B | US20060034125A1 | US7679596
简单同族成员数量
10
简单同族被引用专利总数
74
诉讼案件数
0
法律状态/事件
授权 | 权利转移
抱歉,您的浏览器不支持PDF预览,请点击链接下载PDF文件