专利数据库
统计分析
产业报告
专利数据监控
产业人才
行业动态
产业政策法规
维权援助
个人中心
详情
文本
图像
标题
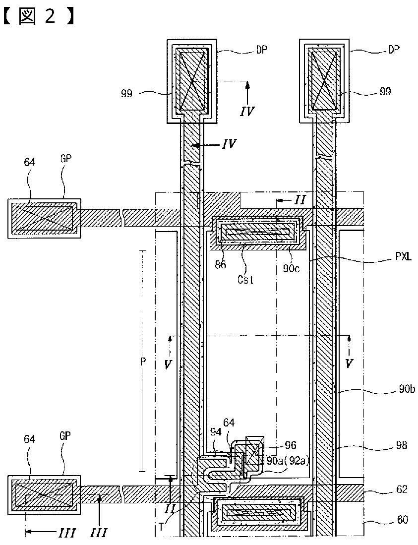
液晶表示装置及びその製造方法
授权日
2011-01-21
公开(公告)号
JP4668893B2
申请日
2006-12-27
公开(公告)日
2011-04-13
当前申请(专利权)人
エルジー ディスプレイ カンパニー リミテッド
发明人
ドンヤン·キム
简单同族
CN101097320A | CN101097320B | JP2008009372A | JP4668893B2 | KR1020080001181A | US20080002125A1 | US20130337617A1 | US8488076 | US8941791
简单同族成员数量
9
简单同族被引用专利总数
94
诉讼案件数
0
法律状态/事件
未缴年费
抱歉,您的浏览器不支持PDF预览,请点击链接下载PDF文件