专利数据库
统计分析
产业报告
专利数据监控
产业人才
行业动态
产业政策法规
维权援助
个人中心
详情
文本
图像
标题
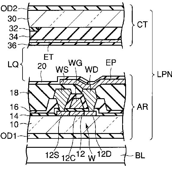
液晶表示装置
授权日
2011-03-04
公开(公告)号
JP4693131B2
申请日
2008-02-14
公开(公告)日
2011-06-01
当前申请(专利权)人
東芝モバイルディスプレイ株式会社
发明人
廣澤 仁
简单同族
JP2009192822A | JP4693131B2 | US20090207363A1 | US20120069280A1 | US20130286339A1 | US8421977 | US8497969 | US8867007
简单同族成员数量
8
简单同族被引用专利总数
186
诉讼案件数
0
法律状态/事件
授权 | 权利转移
抱歉,您的浏览器不支持PDF预览,请点击链接下载PDF文件