专利数据库
统计分析
产业报告
专利数据监控
产业人才
行业动态
产业政策法规
维权援助
个人中心
详情
文本
图像
标题
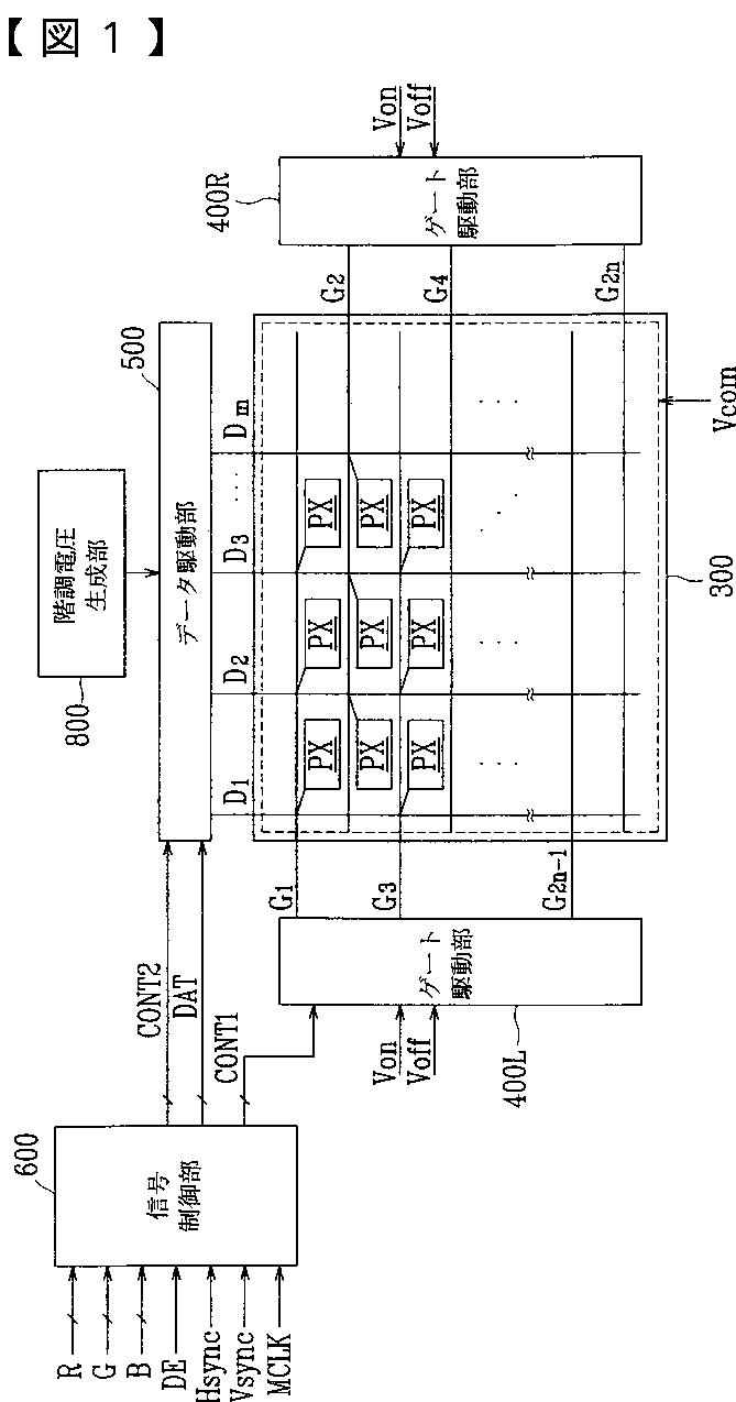
シフトレジスタ及びこれを有する表示装置
授权日
2012-10-19
公开(公告)号
JP5110680B2
申请日
2006-09-27
公开(公告)日
2012-12-26
当前申请(专利权)人
三星電子株式会社
发明人
李 洪 雨 | 李 癸 憲 | 李 鍾 煥
简单同族
CN1941063A | CN1941063B | JP2007094415A | JP2007094415A5 | JP5110680B2 | KR101160836B1 | KR1020070035223A | TW200717412A | TWI431577B | US20070146289A1 | US7911436
简单同族成员数量
11
简单同族被引用专利总数
87
诉讼案件数
0
法律状态/事件
授权 | 权利转移
抱歉,您的浏览器不支持PDF预览,请点击链接下载PDF文件