专利数据库
统计分析
产业报告
专利数据监控
产业人才
行业动态
产业政策法规
维权援助
个人中心
详情
文本
图像
标题
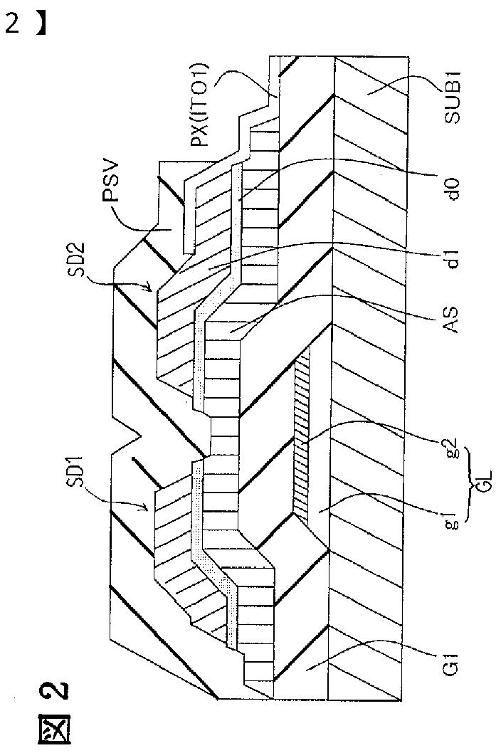
液晶表示装置の製造方法
授权日
2009-07-17
公开(公告)号
JP4342711B2
申请日
2000-09-20
公开(公告)日
2009-10-14
当前申请(专利权)人
株式会社日立製作所
发明人
桶 隆太郎 | 仲吉 良彰 | 小野 記久雄
简单同族
CN100401174C | CN100426108C | CN1237386C | CN1343900A | CN1655040A | CN1932623A | JP2002090779A | JP4342711B2 | KR100695362B1 | KR1020020022625A | KR1020060001921A | TW583432B | US20020033907A1 | US20050237464A1 | US20080057606A1 | US20080057607A1 | US6933989 | US7768621
简单同族成员数量
18
简单同族被引用专利总数
153
诉讼案件数
0
法律状态/事件
未缴年费 | 权利转移
抱歉,您的浏览器不支持PDF预览,请点击链接下载PDF文件