专利数据库
统计分析
产业报告
专利数据监控
产业人才
行业动态
产业政策法规
维权援助
个人中心
详情
文本
图像
标题
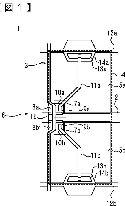
液晶表示装置および液晶表示装置の欠陥修正方法
授权日
2011-10-14
公开(公告)号
JP4841438B2
申请日
2005-12-13
公开(公告)日
2011-12-21
当前申请(专利权)人
シャープ株式会社
发明人
野田 知希 | 津幡 俊英 | 縁田 憲史 | 武内 正典
简单同族
JP2011191791A | JP4841438B2 | JP4920117B2 | JPWO2006064789A1 | US20090262274A1 | US20100296020A1 | US20110122354A1 | US20120236226A1 | US20130120703A1 | US7777825 | US7903190 | US8035768 | US8368833 | WO2006064789A1
简单同族成员数量
14
简单同族被引用专利总数
74
诉讼案件数
0
法律状态/事件
授权 | 权利转移
抱歉,您的浏览器不支持PDF预览,请点击链接下载PDF文件