专利数据库
统计分析
产业报告
专利数据监控
产业人才
行业动态
产业政策法规
维权援助
个人中心
详情
文本
图像
标题
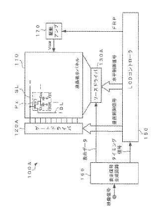
表示駆動装置及びその駆動制御方法並びに該表示駆動装置を備えた表示装置
授权日
1900-01-01
公开(公告)号
JP2005195703A
申请日
2003-12-26
公开(公告)日
2005-07-21
当前申请(专利权)人
カシオ計算機株式会社
发明人
平山 隆一 | 樫山 俊二 | 稲垣 直樹
简单同族
CN100452132C | CN101359461A | CN1641728A | HK1079889A | HK1079889A1 | JP2005195703A | JP4168339B2 | KR100685227B1 | KR1020050067040A | TW200537417A | TWI263970B | US20050156862A1 | US20090146939A1 | US7511691 | US8294655
简单同族成员数量
15
简单同族被引用专利总数
95
诉讼案件数
0
法律状态/事件
未缴年费
抱歉,您的浏览器不支持PDF预览,请点击链接下载PDF文件