专利数据库
统计分析
产业报告
专利数据监控
产业人才
行业动态
产业政策法规
维权援助
个人中心
详情
文本
图像
标题
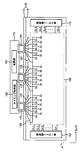
液晶表示装置
授权日
1900-01-01
公开(公告)号
JP2007213063A
申请日
2007-02-01
公开(公告)日
2007-08-23
当前申请(专利权)人
三星電子株式会社
发明人
張 鐘 雄 | 金 東 奎
简单同族
CN101017293A | CN101017293B | CN101819364A | CN101819364B | JP2007213063A | JP2007213063A5 | JP4960716B2 | KR101300683B1 | KR1020070080051A | US10185195 | US20070182909A1 | US20090128470A1 | US20120306733A1 | US20140078430A1 | US20150362814A1 | US20170343877A1 | US7495737 | US8259047 | US8564516 | US9116401 | US9753346
简单同族成员数量
21
简单同族被引用专利总数
88
诉讼案件数
0
法律状态/事件
授权 | 权利转移
抱歉,您的浏览器不支持PDF预览,请点击链接下载PDF文件