专利数据库
统计分析
产业报告
专利数据监控
产业人才
行业动态
产业政策法规
维权援助
个人中心
详情
文本
图像
标题
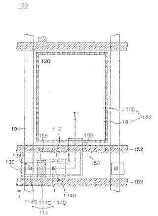
液晶表示装置及びその製造方法
授权日
1900-01-01
公开(公告)号
JP2006139253A
申请日
2005-07-26
公开(公告)日
2006-06-01
当前申请(专利权)人
エルジー ディスプレイ カンパニー リミテッド
发明人
ヨンイン·パク
简单同族
CN100399173C | CN1773354A | JP2006139253A | JP4420462B2 | KR101078360B1 | KR1020060045258A | US20060102905A1 | US20080018821A1 | US7256060 | US7619286
简单同族成员数量
10
简单同族被引用专利总数
60
诉讼案件数
0
法律状态/事件
授权
抱歉,您的浏览器不支持PDF预览,请点击链接下载PDF文件