专利数据库
统计分析
产业报告
专利数据监控
产业人才
行业动态
产业政策法规
维权援助
个人中心
详情
文本
图像
标题
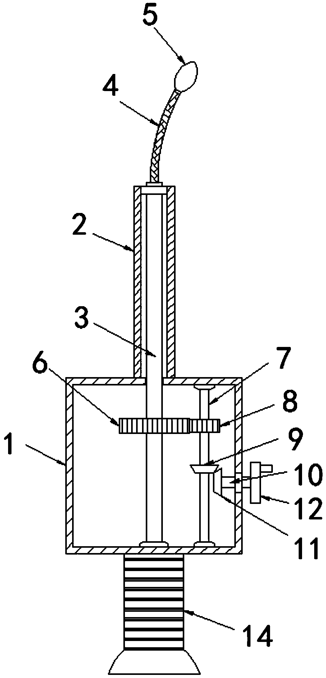
一种腹腔镜手术下用带刻度的B超探头
授权日
2020-06-12
公开(公告)号
CN210727779U
申请日
2019-03-29
公开(公告)日
2020-06-12
当前申请(专利权)人
复旦大学附属肿瘤医院
发明人
张海梁 | 徐文浩 | 刘王睿 | 瞿元元 | 王骏 | 唐悦 | 吴俊龙 | 王弘恺 | 朱煜 | 韦煜 | 万方宁 | 秦晓健 | 叶定伟
简单同族
CN210727779U
简单同族成员数量
1
简单同族被引用专利总数
0
诉讼案件数
0
法律状态/事件
授权
抱歉,您的浏览器不支持PDF预览,请点击链接下载PDF文件