专利数据库
统计分析
产业报告
专利数据监控
产业人才
行业动态
产业政策法规
维权援助
个人中心
详情
文本
图像
标题
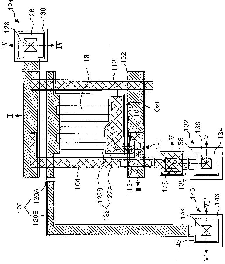
液晶表示装置及びその製造方法
授权日
1900-01-01
公开(公告)号
JP2006184903A
申请日
2005-12-22
公开(公告)日
2006-07-13
当前申请(专利权)人
エルジー ディスプレイ カンパニー リミテッド
发明人
安 炳 哲
简单同族
CN100397224C | CN1794076A | JP2006184903A | JP4612539B2 | KR101085132B1 | KR1020060073373A | US20060139548A1 | US20110063556A1 | US7859639 | US8111363
简单同族成员数量
10
简单同族被引用专利总数
87
诉讼案件数
0
法律状态/事件
未缴年费
抱歉,您的浏览器不支持PDF预览,请点击链接下载PDF文件