专利数据库
统计分析
产业报告
专利数据监控
产业人才
行业动态
产业政策法规
维权援助
个人中心
详情
文本
图像
标题
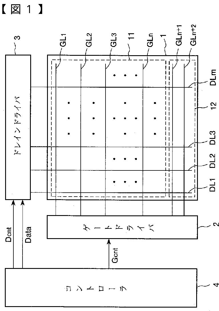
液晶表示装置
授权日
2010-10-22
公开(公告)号
JP4609970B2
申请日
2001-01-17
公开(公告)日
2011-01-12
当前申请(专利权)人
カシオ計算機株式会社
发明人
豊島 剛 | 佐々木 和広 | 両澤 克彦
简单同族
CN1193329C | CN1366284A | HK1048875A | HK1048875A1 | JP2002214643A | JP4609970B2 | KR100470881B1 | KR1020020062171A | TW552571B | US20020093474A1 | US6795049
简单同族成员数量
11
简单同族被引用专利总数
78
诉讼案件数
0
法律状态/事件
未缴年费
抱歉,您的浏览器不支持PDF预览,请点击链接下载PDF文件