专利数据库
统计分析
产业报告
专利数据监控
产业人才
行业动态
产业政策法规
维权援助
个人中心
详情
文本
图像
标题
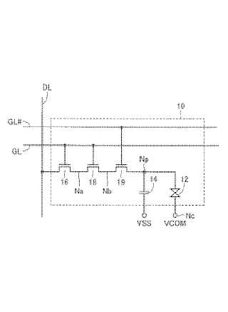
液晶表示装置
授权日
1900-01-01
公开(公告)号
JP2004233526A
申请日
2003-01-29
公开(公告)日
2004-08-19
当前申请(专利权)人
三菱電機株式会社
发明人
飛田 洋一
简单同族
CN1517967A | JP2004233526A | KR100532653B1 | KR1020040069947A | TW200414119A | US20040145551A1 | US7212183
简单同族成员数量
7
简单同族被引用专利总数
65
诉讼案件数
0
法律状态/事件
撤回
抱歉,您的浏览器不支持PDF预览,请点击链接下载PDF文件