专利数据库
统计分析
产业报告
专利数据监控
产业人才
行业动态
产业政策法规
维权援助
个人中心
详情
文本
图像
标题
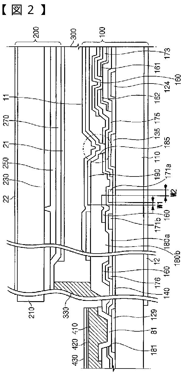
薄膜トランジスタ表示板及びこれを含む液晶表示装置
授权日
2012-10-05
公开(公告)号
JP5100968B2
申请日
2005-02-07
公开(公告)日
2012-12-19
当前申请(专利权)人
サムスン エレクトロニクス カンパニー リミテッド
发明人
金 東 奎 | 金 相 洙
简单同族
CN100504553C | CN1652002A | JP2005222067A | JP2011170385A | JP5100968B2 | JP5371063B2 | TW200537694A | TWI358132B | US20050174503A1 | US20080309839A1 | US7417694 | US7872699
简单同族成员数量
12
简单同族被引用专利总数
67
诉讼案件数
0
法律状态/事件
未缴年费 | 权利转移
抱歉,您的浏览器不支持PDF预览,请点击链接下载PDF文件