专利数据库
统计分析
产业报告
专利数据监控
产业人才
行业动态
产业政策法规
维权援助
个人中心
详情
文本
图像
标题
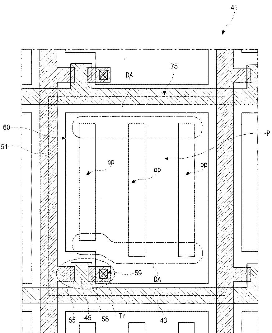
フリンジフィールドスイッチングモードの液晶表示装置用アレイ基板及びこれを含むフリンジフィールドスイッチングモードの液晶表示装置
授权日
2013-08-09
公开(公告)号
JP5334552B2
申请日
2008-12-09
公开(公告)日
2013-11-06
当前申请(专利权)人
エルジー ディスプレイ カンパニー リミテッド
发明人
ソン サンム | ファン インホ | パク デイム | リュウ キヒョン
简单同族
CN104614902A | DE102008058709A1 | DE102008058709B4 | GB0821453D0 | GB201101127D0 | GB2464143A | GB2464143B | GB2474979A | GB2474979B | JP2010008999A | JP5334552B2 | US20090322975A1 | US20120218488A1 | US8154696 | US8373833
简单同族成员数量
15
简单同族被引用专利总数
73
诉讼案件数
0
法律状态/事件
授权
抱歉,您的浏览器不支持PDF预览,请点击链接下载PDF文件