专利数据库
统计分析
产业报告
专利数据监控
产业人才
行业动态
产业政策法规
维权援助
个人中心
详情
文本
图像
标题
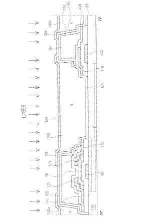
液晶表示装置用アレイ基板の製造方法
授权日
1900-01-01
公开(公告)号
JP2004310036A
申请日
2003-11-26
公开(公告)日
2004-11-04
当前申请(专利权)人
エルジー ディスプレイ カンパニー リミテッド
发明人
ウン-クォン·キム | ヨン-ギョン·チャン
简单同族
CN1267784C | CN1506737A | GB0325368D0 | GB2396242A | GB2396242B | JP2004310036A | JP4299113B2 | KR100916603B1 | KR1020040050235A | TW200409967A | TWI227794B | US20040125280A1 | US7517620
简单同族成员数量
13
简单同族被引用专利总数
58
诉讼案件数
0
法律状态/事件
授权
抱歉,您的浏览器不支持PDF预览,请点击链接下载PDF文件