专利数据库
统计分析
产业报告
专利数据监控
产业人才
行业动态
产业政策法规
维权援助
个人中心
详情
文本
图像
标题
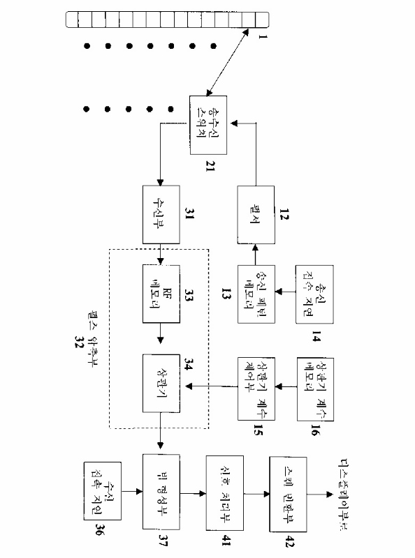
확산 대역 신호를 이용한 펄스 압축 방식에 기초한 초음파영상 형성 방법 및 장치
授权日
1900-01-01
公开(公告)号
KR1020010113215A
申请日
2000-06-17
公开(公告)日
2001-12-28
当前申请(专利权)人
삼성메디슨 주식회사
发明人
송태경 | 유양모
简单同族
DE60118837D1 | DE60118837T2 | EP1164385A2 | EP1164385A3 | EP1164385B1 | JP2002045359A | KR100350026B1 | KR1020010113215A | US20020005071A1 | US6622560
简单同族成员数量
10
简单同族被引用专利总数
64
诉讼案件数
0
法律状态/事件
期限届满 | 权利转移
抱歉,您的浏览器不支持PDF预览,请点击链接下载PDF文件