专利数据库
统计分析
产业报告
专利数据监控
产业人才
行业动态
产业政策法规
维权援助
个人中心
详情
文本
图像
标题
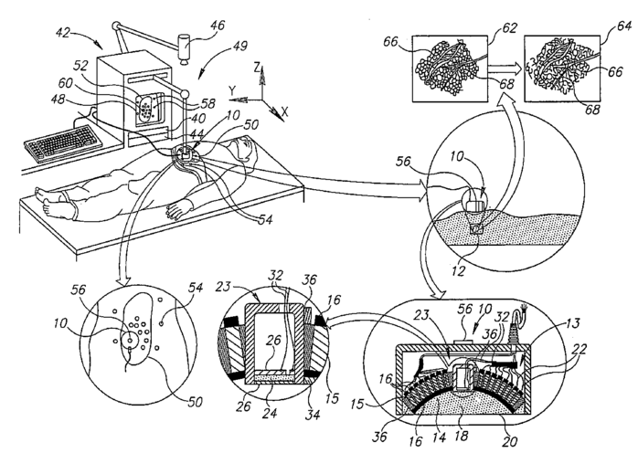
Non-invasive ultrasonic body contouring
授权日
2010-10-19
公开(公告)号
US7815570
申请日
2007-06-12
公开(公告)日
2010-10-19
当前申请(专利权)人
ULTRASHAPE LTD.
发明人
ESHEL, YORAM | VITSNUDEL, ILIA
简单同族
AT395948T | AU2002217412A1 | AU2002217412B2 | BRPI0116707A2 | CA2433745A1 | CA2433745C | CN100370961C | CN1484520A | DE60134177D1 | EP1362223A2 | EP1362223A4 | EP1362223B1 | HK1064277A | HK1064277A1 | IL156439D0 | JP2004522492A | JP2008212708A | JP4727903B2 | KR100948543B1 | KR1020040015045A | RU2003124635A | RU2295366C2 | SG97581A1 | US20040106867A1 | US20080281201A1 | US7815570 | WO2002054018A1 | WO2002054018A2 | WO2002054018A3
简单同族成员数量
29
简单同族被引用专利总数
176
诉讼案件数
0
法律状态/事件
授权 | 权利转移
抱歉,您的浏览器不支持PDF预览,请点击链接下载PDF文件