专利数据库
统计分析
产业报告
专利数据监控
产业人才
行业动态
产业政策法规
维权援助
个人中心
详情
文本
图像
标题
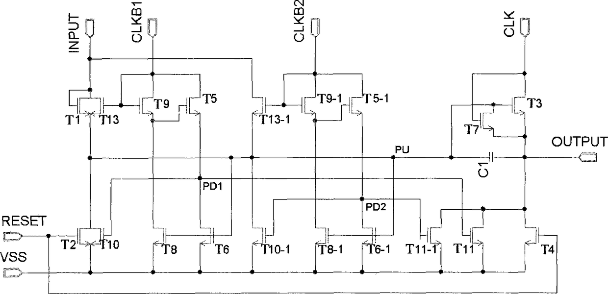
移位寄存器、液晶显示器栅极驱动装置和数据线驱动装置
授权日
2013-05-29
公开(公告)号
CN102237029B
申请日
2010-04-23
公开(公告)日
2013-05-29
当前申请(专利权)人
北京京东方光电科技有限公司
发明人
韩承佑
简单同族
CN102237029A | CN102237029B | EP2562761A1 | EP2562761A4 | EP2562761B1 | JP2013530478A | JP6114183B2 | KR101365233B1 | KR1020120028333A | US20120113088A1 | US8736537 | WO2011131130A1
简单同族成员数量
12
简单同族被引用专利总数
70
诉讼案件数
0
法律状态/事件
授权
抱歉,您的浏览器不支持PDF预览,请点击链接下载PDF文件