专利数据库
统计分析
产业报告
专利数据监控
产业人才
行业动态
产业政策法规
维权援助
个人中心
详情
文本
图像
标题
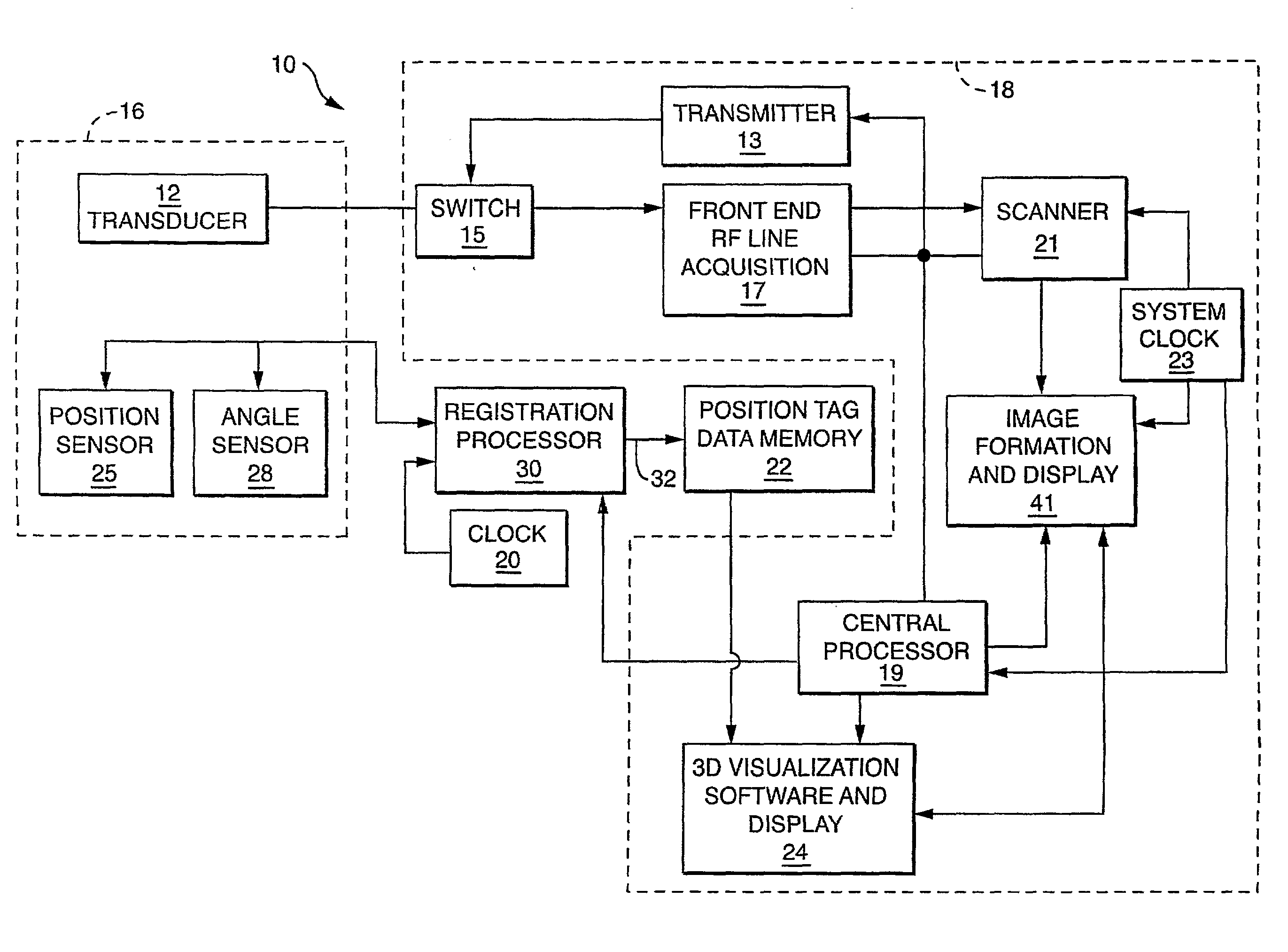
Free-hand three-dimensional ultrasound diagnostic imaging with position and angle determination sensors
授权日
1900-01-01
公开(公告)号
US20090306509A1
申请日
2006-03-30
公开(公告)日
2009-12-10
当前申请(专利权)人
THE TRUSTEES OF BOSTON UNIVERSITY | WORCESTER POLYTECHNIC INSTITUTE
发明人
PEDERSEN, PEDER C. | SZABO, THOMAS L.
简单同族
EP1866871A2 | EP1866871A4 | US20090306509A1 | WO2006127142A2 | WO2006127142A3
简单同族成员数量
5
简单同族被引用专利总数
113
诉讼案件数
0
法律状态/事件
撤回 | 权利转移
抱歉,您的浏览器不支持PDF预览,请点击链接下载PDF文件