专利数据库
统计分析
产业报告
专利数据监控
产业人才
行业动态
产业政策法规
维权援助
个人中心
详情
文本
图像
标题
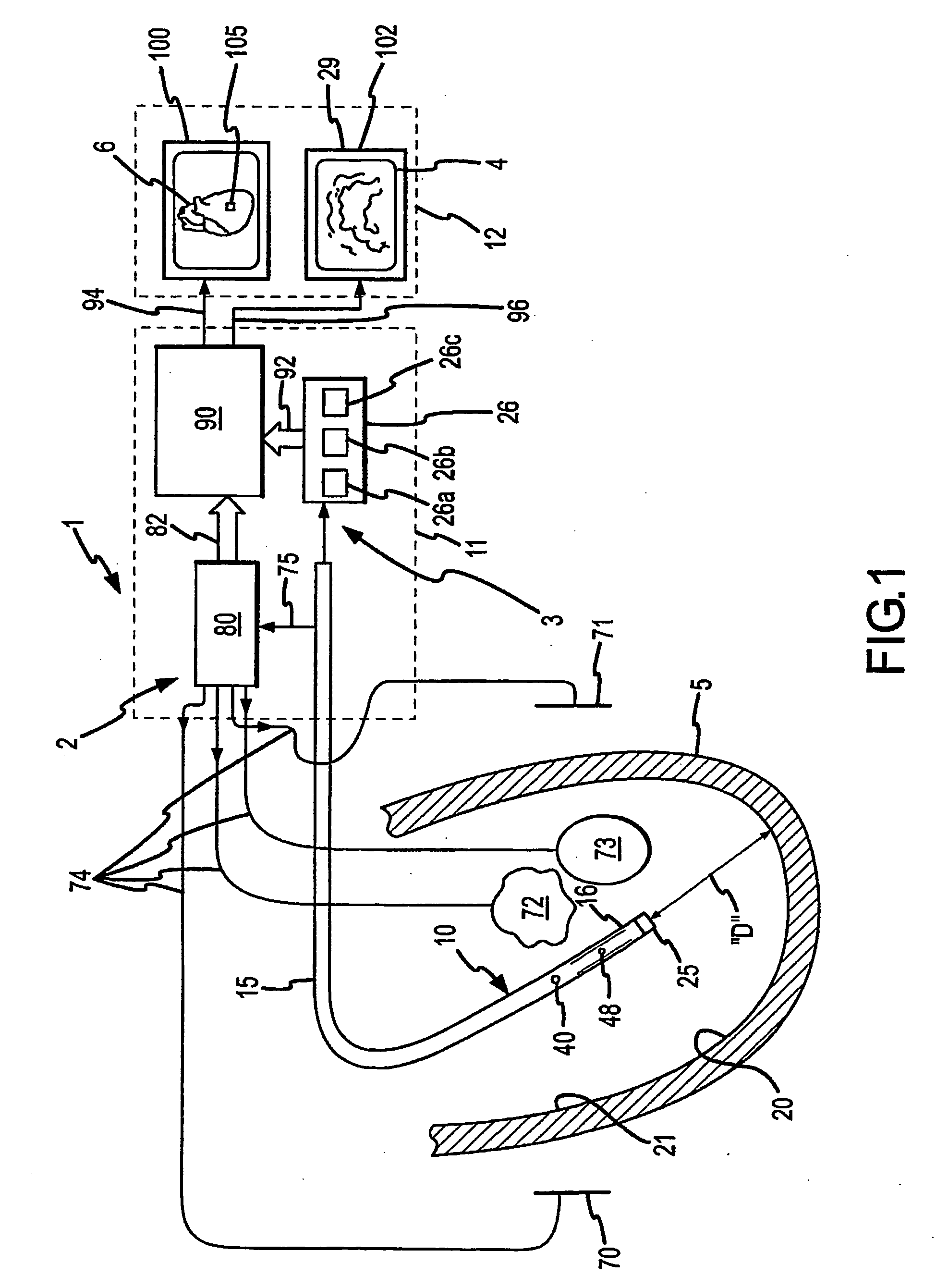
System for navigating an ultrasound catheter to image a beating heart
授权日
2011-03-02
公开(公告)号
EP1845855B1
申请日
2006-01-27
公开(公告)日
2011-03-02
当前申请(专利权)人
ST. JUDE MEDICAL, ATRIAL FIBRILLATION DIVISION, IN
发明人
HAUCK, JOHN
简单同族
AT499881T | DE602006020411D1 | EP1845855A2 | EP1845855A4 | EP1845855B1 | US20050203394A1 | US20110009740A1 | US20130096432A1 | US20150094568A1 | US7806829 | US8333705 | US8876723 | WO2006081410A2 | WO2006081410A3
简单同族成员数量
14
简单同族被引用专利总数
113
诉讼案件数
0
法律状态/事件
授权 | 权利转移
抱歉,您的浏览器不支持PDF预览,请点击链接下载PDF文件