专利数据库
统计分析
产业报告
专利数据监控
产业人才
行业动态
产业政策法规
维权援助
个人中心
详情
文本
图像
标题
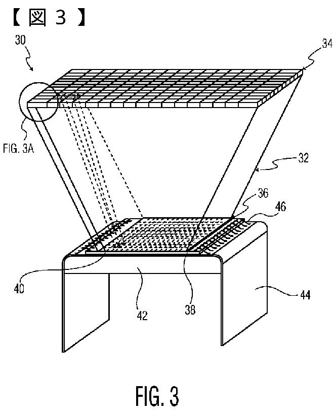
マイクロビームフォーマ及び医用超音波システム用再配布相互接続
授权日
2012-04-13
公开(公告)号
JP4969456B2
申请日
2006-01-09
公开(公告)日
2012-07-04
当前申请(专利权)人
コーニンクレッカ フィリップス エレクトロニクス エヌ ヴィ
发明人
デヴィッドセン リチャード | ロビンソン アンドリュー エル | サドル ワジェテック
简单同族
CN101102853A | CN101102853B | EP1838462A2 | EP1838462B1 | JP2008526343A | JP4969456B2 | US20080106976A1 | US7795784 | WO2006075283A2 | WO2006075283A3
简单同族成员数量
10
简单同族被引用专利总数
68
诉讼案件数
0
法律状态/事件
授权
抱歉,您的浏览器不支持PDF预览,请点击链接下载PDF文件