专利数据库
统计分析
产业报告
专利数据监控
产业人才
行业动态
产业政策法规
维权援助
个人中心
详情
文本
图像
标题
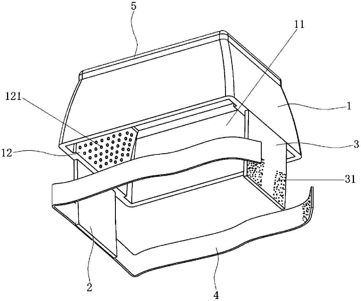
一种超声耦合装置
授权日
2020-02-07
公开(公告)号
CN210019414U
申请日
2019-03-19
公开(公告)日
2020-02-07
当前申请(专利权)人
广东省人民医院(广东省医学科学院)
发明人
李明奇 | 李贺智
简单同族
CN210019414U
简单同族成员数量
1
简单同族被引用专利总数
0
诉讼案件数
0
法律状态/事件
授权
抱歉,您的浏览器不支持PDF预览,请点击链接下载PDF文件