专利数据库
统计分析
产业报告
专利数据监控
产业人才
行业动态
产业政策法规
维权援助
个人中心
详情
文本
图像
标题
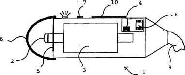
测量人或动物器官的弹性的装置和方法
授权日
2008-12-03
公开(公告)号
CN100438833C
申请日
2003-07-16
公开(公告)日
2008-12-03
当前申请(专利权)人
回波检测公司
发明人
洛朗·桑德兰 | 让-米歇尔·阿斯克诺夫
简单同族
AU2003271812A1 | AU2003271812B2 | BRPI0313214A2 | BRPI0313214B1 | CA2494828A1 | CN100438833C | CN1674827A | EP1531733A2 | EP1531733B1 | ES2394961T3 | FR2843290A1 | FR2843290B1 | IL166536A | IL166536D0 | JP2005534455A | JP2005534455A5 | JP4451309B2 | KR1020050054916A | WO2004016176A2 | WO2004016176A3
简单同族成员数量
20
简单同族被引用专利总数
119
诉讼案件数
0
法律状态/事件
全部撤销 | 无效程序 | 许可 | 口头审理
抱歉,您的浏览器不支持PDF预览,请点击链接下载PDF文件