专利数据库
统计分析
产业报告
专利数据监控
产业人才
行业动态
产业政策法规
维权援助
个人中心
详情
文本
图像
标题
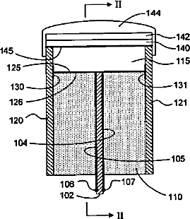
诊断超声换能器
授权日
1900-01-01
公开(公告)号
CN101361664A
申请日
2008-08-04
公开(公告)日
2009-02-11
当前申请(专利权)人
深圳迈瑞生物医疗电子股份有限公司
发明人
郭小骢
简单同族
CN101361664A | CN101361664B | EP2025414A1 | EP2025414B1 | US20090034370A1 | US20100327698A1 | US20110088248A1 | US20130145611A1 | US7834522 | US8084923 | US8347483 | US8656578
简单同族成员数量
12
简单同族被引用专利总数
98
诉讼案件数
0
法律状态/事件
授权 | 权利转移
抱歉,您的浏览器不支持PDF预览,请点击链接下载PDF文件