专利数据库
统计分析
产业报告
专利数据监控
产业人才
行业动态
产业政策法规
维权援助
个人中心
详情
文本
图像
标题
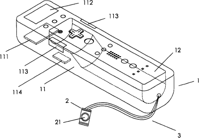
可测量人体多项数据的游戏机控制器
授权日
2008-02-13
公开(公告)号
CN201020264Y
申请日
2007-01-26
公开(公告)日
2008-02-13
当前申请(专利权)人
徐道政
发明人
徐道政
简单同族
CN201020264Y
简单同族成员数量
1
简单同族被引用专利总数
0
诉讼案件数
0
法律状态/事件
未缴年费
抱歉,您的浏览器不支持PDF预览,请点击链接下载PDF文件