专利数据库
统计分析
产业报告
专利数据监控
产业人才
行业动态
产业政策法规
维权援助
个人中心
详情
文本
图像
标题
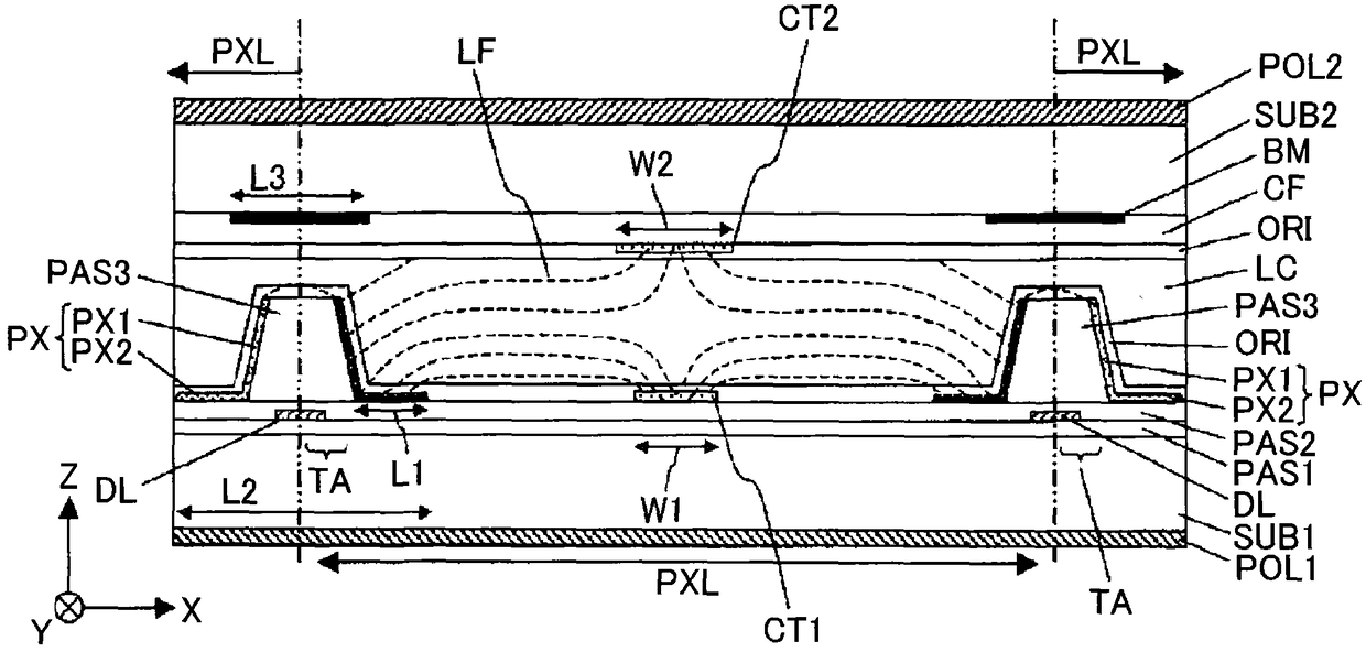
液晶显示装置
授权日
1900-01-01
公开(公告)号
CN102736329A
申请日
2012-04-01
公开(公告)日
2012-10-17
当前申请(专利权)人
株式会社日本显示器
发明人
平塚崇人 | 伊东理 | 冈真一郎 | 小村真一
简单同族
CN102736329A | CN102736329B | JP2012220575A | KR101355291B1 | KR1020120113672A | TW201248278A | TWI493264B | US20120257156A1 | US9261739
简单同族成员数量
9
简单同族被引用专利总数
52
诉讼案件数
0
法律状态/事件
授权
抱歉,您的浏览器不支持PDF预览,请点击链接下载PDF文件