专利数据库
统计分析
产业报告
专利数据监控
产业人才
行业动态
产业政策法规
维权援助
个人中心
详情
文本
图像
标题
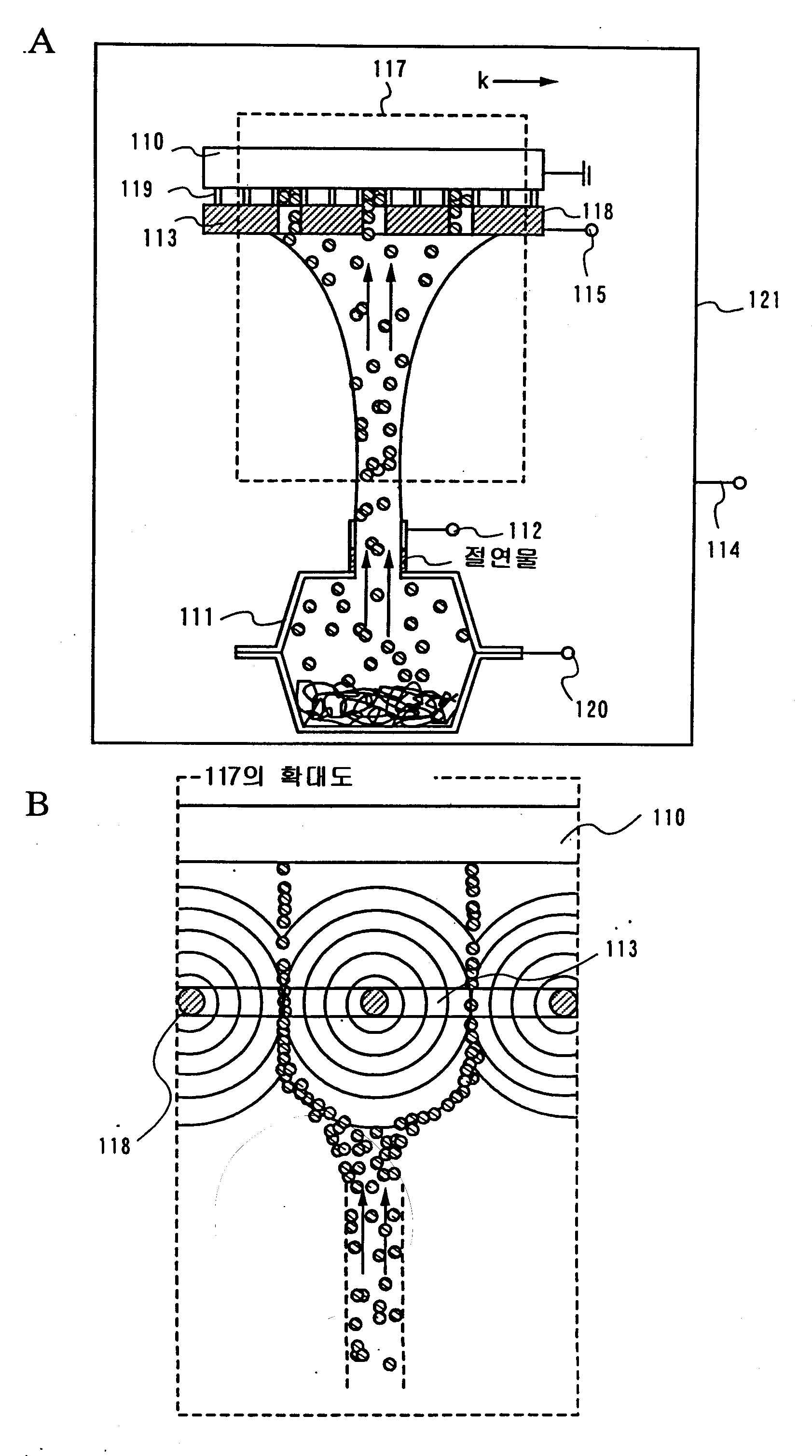
박막 형성 방법 및 EL 표시장치 제작방법
授权日
1900-01-01
公开(公告)号
KR1020060035665A
申请日
2006-03-03
公开(公告)日
2006-04-26
当前申请(专利权)人
가부시키가이샤 한도오따이 에네루기 켄큐쇼
发明人
야마자키순페이 | 히로키마사아키 | 이시마루노리코
简单同族
CN1227714C | CN1312584A | CN1767226A | CN1767226B | EP1132980A2 | EP1132980A3 | EP1132980B1 | KR100764178B1 | KR100764185B1 | KR1020010087326A | KR1020060035665A | KR1020060036416A | TW495812B | US20020031874A1 | US20040171182A1 | US20060197080A1 | US6699739 | US7022535 | US7564054
简单同族成员数量
19
简单同族被引用专利总数
174
诉讼案件数
0
法律状态/事件
未缴年费
抱歉,您的浏览器不支持PDF预览,请点击链接下载PDF文件